Loader Performance
| Tipping Load | 3600 lb (1633 kg) |
| Rated Operating Capacity (50% Tipping) | 1800 lb (818 kg) |
| Rated Operating Capacity (35% Tipping) | 1260 lb (572 kg) |
| Bucket Breakout Force | 5550 lbf (24.7 kN) |
| Boom Breakout Force | 2620 lbf (11.7 kN) |
| Standard Bucket Width | 66 in (1676 mm) |
| Lift Arm Path | Vertical |
| Boom Type | Super Boom |

Dimensions
| A. Overall Operating Height (w/ dirt/foundry bucket short lip) | 150.4 in (3820 mm) |
| A. Overall Operating Height (w/ low profile standard lip bucket) | 154.6 in (3927 mm) |
| A. Overall Operating Height (w/ low profile extended long lip bucket) | 159.6 in (4055 mm) |
| B. Bucket Hinge Pin | 120 in (3048 mm) |
| C. Heigh to Top of ROPS | 77.7 in (1974 mm) |
| D. Bottom of Level Bucket, Fully Raised | 113.3 in (2877 mm) |
| E. Overall Length (w/o attachment, with coupler) | 105.7 in (2697 mm) |
| F. Overall Length (w/ foundry excavation bucket on ground) | 131.9 in (3352 mm) |
| F. Overall Length (w/ low profile bucket) | 136.1 in (3456 mm) |
| F. Overall Length (w/ low profile extended bucket) | 141.1 in (3585 mm) |
| G. Max Dump Angle | 52° |
| H. Dump Height (w/ foundry/excavating bucket short lip) | 93.7 in (2380 mm) |
| H. Dump Height (w/ low profile/standard lip bucket) | 90.7 in (2305 mm) |
| J. Dump Reach (max height) | 30.8 in (783 mm) |
| K. Rollback Angle, Bucket on Ground | 35° |
| L. Rollback Angle, Bucket at Full Height | 88° |
| M. Wheelbase | 44.4 in (1128 mm) |
| P. Ground Clearance (bottom of belly pan) | 7 in (178 mm) |
| Q. Angle of Departure | 23° |
| R. Clearance Circle (w/o bucket) | 50.7 in (1289 mm) |
| S. Clearance Circle (w/ 66 in foundry bucket in carry position) | 79.6 in (2021 mm) |
| S. Clearance Circle (w/ 66 in low profile bucket on ground) | 83.9 in (2132 mm) |
| S. Clearance Circle (w/ 66 in extended low profile bucket on ground) | 88.6 in (2250 mm) |
| T. Clearance Circle Rear | 62.9 in (1599 mm) |
| U. Rear Axle to Bumper | 36.4 in (924 mm) |
| V. Tread Width (10×16.5 tires) | 53.9 in (1371 mm) |
| W. Overall Width | 66.1 in (1678 mm) |

Buckets for New Holland L218
| New Holland L218 | Bucket Width | Heaped Capacity |
|---|---|---|
| Dirt / Foundry Bucket (Standard) | 66 in (1676 mm) | 15.2 ft3 (0.41 m3) |
| Dirt / Foundry | 72 in (1829 mm) | 16.7 ft3 (0.45 m3) |
| Dirt / Foundry | 78 in (1981 mm) | 18.4 ft3 (0.52 m3) |
| Low Profile Bucket | 66 in (1676 mm) | 13.2 ft3 (0.37 m3) |
| Low Profile | 72 in (1829 mm) | 14.5 ft3 (0.41 m3) |
| Low Profile Extended Bucket | 66 in (1676 mm) | 15.5 ft3 (0.44 m3) |
| Low Profile Extended | 72 in (1829 mm) | 17.1 ft3 (0.48 m3) |
| Low Profile Extended | 78 in (1981 mm) | 18.6 ft3 (0.53 m3) |
| Low Profile Extended | 84 in (2134 mm) | 20.2 ft3 (0.57 m3) |
| Utility / Light Material Bucket | 72 in (1829 mm) | 23.7 ft3 (0.65 m3) |
| Utility / Light Material | 84 in (2134 mm) | 27.9 ft3 (0.79 m3) |
| Manure / Fertilizer Bucket | 72 in (1829 mm) | 19.1 ft3 (0.54 m3) |
| Manure / Fertilizer | 84 in (2134 mm) | 22.5 ft3 (0.64 m3) |
| Heavy Duty Dirt Bucket | 66 in (1676 mm) | 13.3 ft3 (0.38 m3) |
| Heavy Duty Dirt | 72 in (1829 mm) | 14.6 ft3 (0.41 m3) |
| Heavy Duty Dirt | 78 in (1981 mm) | 15.9 ft3 (0.45 m3) |
| Heavy Duty Extended Bucket w/ Smart Fit Teeth | 72 in (1829 mm) | 17.1 ft3 (0.48 m3) |
| Heavy Duty Extended w/ Smart Fit Teeth | 78 in (1981 mm) | 18.9 ft3 (0.54 m3) |

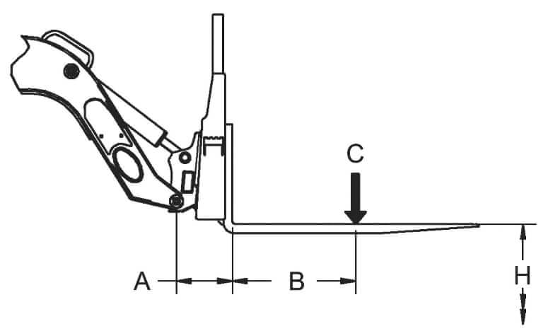
Pallet Fork
| Pallet Fork Rated Operating Capacity (ROC) | 904 lb (410 kg) |
| Pallet Fork ROC w/ Counterweight | 970 lb (440 kg) |
| A | 10.9 in (277 mm) |
| B | 24.0 in (610 mm) |
| C | Load Center of Gravity (CG) |
| H (Height @ maximum reach) | 52.4 in (2495 mm) |

Tires
| Tire Size | Type |
|---|---|
| 10 x 16.5 (Standard) | Heavy Duty (64 OTW) |
| 10 x 16.5 | Premium (64 OTW) |
| 10 x 16.5 | Premium Liner (64 OTW) |
| 10 x 16.5 | Severe Duty (64 OTW) |
| 10 x 16.5 | Non-Pneumatic (64 OTW) |
| 12 x 16.5 | Heavy Duty (70 OTW) |
| 12 x 16.5 | Premium (70 OTW) |
| 12 x 16.5 | Premium Liner (70 OTW) |
| 10 x 16.5 | Tweel (70 OTW) |
Engine Details
| Number of Cylinders | 4 |
| Engine Make | ISM Shibaura |
| Engine Model | ISM Shibaura N844LTA |
| Displacement | 135.2 cu in (2.216 L) |
| Bore | 3.31 in (84 mm) |
| Stroke | 3.94 in (100 mm) |
| Gross Power | 60 hp (45 kw) |
| Net Power | 57 hp (42 kw) |
| Power Measured @ | 2800 rpm |
| Peak Torque | 135 lb ft (183 Nm) |
| Torque Measured @ | 1800 rpm |
| Low Idle | 1200 rpm |
| High Idle | 2825 rpm |
| Fuel System | HPCR Direct |
| Fuel Filtration | Pre-filter spin on @ 30 microns Main-filter spin on @ 4 microns |
| Fuel Consumption | ≈ 2.7-3.3 gal/h (10.2-12.3 L/h) |
| Engine Oil Type | New Holland Ambra UNITEK MasterGold SBL CJ-4 |
| Compression Ratio | 22.4:1 |
| Air Cleaner | Dry type filter with dual element |
| Aspiration | Turbocharged Aftercooled with external EGR |
| Emission Standards | US EPA Tier 4 Final |

Operational Specs
| Operating Weight | 6230 lb (2832 kg) |
| Shipping Weight (w/ bucket) | 5930 lb (2695 kg) |
| Counterweight (optional) | 140.7 lb (63.8 kg) |
| Rated Operating Capacity | 1800 lb (818 kg) |
| Operating Voltage | 12 V |
| Alternator | 120 amps |
| Battery | 12 V, CCA 1000 |
| Starter | 12 V, 3 hp (2.2 kw) SBA185086750 |
| Cab Safety | ROPS + FOPS |
| Cab Type | Sealed, pressurized cabs with air vents |
| HVAC | Heater/defroster kit and optional air conditioner |
| Control | Direct mechanical controls are standard with electro-hydraulic switchable (ISO-H pattern) controls optional |
| Operator Seat | Suspension seats or the heated, composite air-ride seat |
| Noise Level (exterior) | 101 dB(A) |

Transmission
| Type | Hydrostatic transmission |
| Max Travel Speed, Low | 7.4 mph (11.9 km/h) |
| Max Travel Speed, High (Optional) | 10.8 mph (17.4 km/h) |
| Drive Pump Flow | 25.1 gal/min (95 L/min) |
| Charge Pressure | 360 psi (2450 kPa) |
| Transmission Relief Pressure | 5000 psi (34500 kPa) |
| Transmission Oil Type | Tutela Auto Supreme Oil SAE 10W-30 |
| Axle Diameter | 2 in (50.8 mm) |
| Axle Length | 15.1 in (384 mm) |
| Final Drive | Single-reduction chain drive |
| Chain Size | ASA #80 |
| Parking Brake | SAHR disc. Depress on/off brake button on instrument panel, disconnect lapbelt, get off seat, or stop engine |

Hydraulic System
| Main Pump Type | Gear Pump |
| Pump Flow Capacity | 20.6 gal/min (78 L/min) |
| Pump Flow Capacity (High Flow) | 30.7 gal/min (116.2 L/min) |
| Main System Relief | 3046 psi (21000 kPa) |
| Control Valve Type | 3 Spool Open Center |
| Hydraulic Fluid | Tutela Auto Supreme Oil SAE 10W-30 |
| Hydraulic Fluid Filtration | 4 microns / spin on |
| Lift Hydraulic Cylinder (Bore x Stroke x Rode) | 2.25 x 1.38 x 26.8 in (57 x 34.9 x 681 mm) |
| Bucket Cylinders (Bore x Stroke x Rode) | 2.5 x 1.38 x 16.1 in (63.5 x 34.9 x 410 mm) |

Hydraulic Circle Time
| Raise Time | 2.8 sec |
| Lower Time | 2.3 sec |
| Dump Time | 2.1 sec |
| Roll Back Time (Curl) | 1.5 sec |
| Total Hydraulic Circle Time | 8.7 sec |

New Holland L218 Filters
| Engine Oil Filter | 84475542 |
| Air Filter (Primary Element) | 86982522 |
| Air Filter (Safety Element) | 86982523 |
| Main Fuel Filter | 84299977 |
| Fuel / Water Separator | 84561653 |
| Hydraulic Oil Filter | 47710533 (47456328) |
| Cab Air Filter | 84376814 (84376815) |
Service Refill Capacities
| Fuel Tank Capacity | 19.5 gal (73.8 L) |
| Engine Oil Capacity (w/ filter) | 1.9 gal (7.1 L) |
| Cooling System Capacity | 4.2 gal (15.6 L) |
| Hydraulic System Capacity (w/ tank) | 8.5 gal (32.2 L) |
| Hydraulic Tank Capacity | 4 gal (15 L) |
| Final Drive Fluid Capacity (each side) | 0.26 gal (1 L) |
| Chain Case Capacity (each side) | 2 gal (7.4 L) |
The New Holland L218 skid steer loader is engineered for maximum versatility, capable of taking on a wide variety of applications through its extensive lineup of attachments. Whether on construction sites, in agricultural operations, or for utility and landscaping work, the L218 adapts easily with tools that transform it from a loader into a multi-purpose workhorse.

In construction and site development, the L218 can be equipped with heavy-duty tools designed for digging, grading, cutting, and handling materials. Attachments such as the 4×1 bucket, concrete bucket, concrete claw, rock bucket, dozer blade, cold planer, trenchers, vibratory roller, Harley power box rake, and scrap grapple ensure precision and durability in demanding environments. Operators can also make use of the power side-discharge bucket, pallet forks, and steel tracks for enhanced material handling, traction, and performance on rough terrain.

For agriculture and livestock operations, the L218 offers a wide array of attachments designed to handle feeding, cleaning, and field maintenance tasks. The bale handler, bale spear, manure forks, manure scraper, and silage defacer simplify daily chores, while the augers, post driver, and post puller make fencing and land preparation more efficient. Additional tools like the rotary cutter, tiller, preparator landscape rake, auto rake, and root rake support soil work, planting preparation, and debris cleanup across farmyards and fields.

When it comes to utility, groundskeeping, and landscaping, the L218 demonstrates remarkable adaptability. Attachments such as the angle broom, hopper broom, and pick-up broom ensure clean worksites and paved surfaces. For tree care and vegetation management, the stump grinder, chipper, tree shovel, and tree spade provide robust solutions for clearing and transplanting. The brush grapple, log grapple, and silt fence installer extend its capability for environmental and maintenance applications.

In snow and winter management, the L218 transforms effortlessly into a snow removal machine. Operators can attach the snow blade, snow pusher, snow bucket, or snow blower to clear roads, driveways, and job sites efficiently, maintaining productivity even in harsh weather conditions.